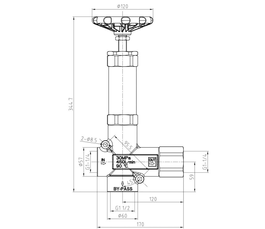
安裝尺寸圖

爆炸圖與物料清單


| 產品型號 | VRP450調壓閥 |
| 工作壓力 | 0-300bar |
| 最大流量 | 450L/min |
| 工作介質 | 清潔淡水 |
| 介質溫度 | 0℃ < t ≤ 90℃ |
| 材質 | 銅 |
| 重 ? ? ? 量 | 3.58kg |
安裝尺寸圖

爆炸圖與物料清單

